對夾式止回閥
設計特性
制造工藝:精密鑄造閥體??
工作壓力:1.6 2.5 4.0MPa? ??
適用溫度:-29°C~150°C(300°C)
適用介質:水、油、氣等??

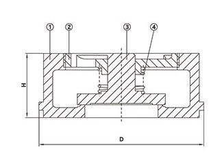
主要部件及材料
| 序號 | 零配件 | 主要材質 |
| 1 | 閥體 | WCB CF8 CF8M |
| 2 | 閥蓋 | WCB CF8 CF8M |
| 3 | 彈簧 | CF8 CF8M |
| 4 | 閥瓣 | 304 316 |
主要尺寸
| 16MPa | 150LB | |||||
| 尺寸 | D | H | D | H | ||
| 1/2" | DN15 | 53 | 25 | 28 | 46 | 25 |
| 3/4" | DN20 | 64 | 28 | 24 | 56 | 31.5 |
| 1" | DN25 | 71 | 30 | 29 | 65 | 35.5 |
| 1-1/4" | DN32 | 82 | 34 | 34 | 74 | 40 |
| 1-1/2" | DN40 | 91 | 39 | 41 | 84 | 45 |
| 2" | DN50 | 107 | 44 | 49 | 103 | 56 |
| 2-1/2" | DN65 | 127 | 55 | 57 | 122 | 63 |
| 3" | DN80 | 141 | 60 | 71 | 135 | 71 |
| 4" | DN100 | 162 | 72 | 81 | 173 | 80 |
| 5" | DN125 | 191 | 80 | 98 | 195 | 110 |
| 6" | DN150 | 216 | 100 | - | 220 | 125 |
| 8" | DN200 | 270 | 118 | - | 277 | 160 |
| 10" | DN250 | 322 | 134 | - | 337 | - |
| 12" | DN300 | 373 | 158 | - | - | - |